xe điện cỡ nhỏ
(11 bài viết)Ford Fiesta có thể sẽ được hồi sinh vào năm 2028 với giá "mềm"
Tin xe07:48 - 14/12/2025
Ford Fiesta thế hệ mới sẽ quay trở lại thị trường dưới dạng xe điện được phát triển dựa trên ô tô của Renault.
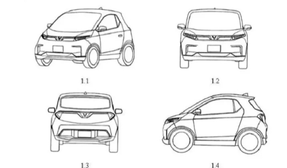
Wuling Hongguang Mini EV phiên bản nâng cấp lộ diện, điều chỉnh cả thiết kế và kích thước
Xe xanh07:05 - 06/12/2025
Wuling Hongguang Mini EV nâng cấp được đăng ký với 6 phiên bản, chuẩn hóa thiết kế ngoại thất cho cả cấu hình hai cửa và bốn cửa.
Suzuki Vision e-Sky - ô tô điện tí hon của Nhật Bản, có thể đe dọa xe Trung Quốc
Xe xanh07:51 - 10/10/2025
Phiên bản thương mại của Suzuki Vision e-Sky dự kiến sẽ ra mắt toàn cầu vào năm tài chính 2026.
Dacia Hipster - xe tái định nghĩa ô tô điện giá rẻ, dùng điện thoại thông minh thay màn hình giải trí
Xe xanh09:23 - 08/10/2025
Mẫu xe concept Dacia Hipster tái định nghĩa “chiếc xe của mọi người” với thiết kế tối giản, trọng lượng thấp, tính năng thông minh hơn và bền vững hơn.
Atto 1 ra mắt tại Indonesia: Mẫu xe điện rẻ nhất của BYD, giá từ khoảng 310 triệu đồng, phạm vi di chuyển đến 380 km
Xe xanh14:26 - 24/07/2025
BYD chính thức giới thiệu mẫu xe điện cỡ nhỏ Atto 1 tại Triển lãm Ôtô Quốc tế Gaikindo Indonesia (GIIAS) 2025. Đây thực chất là phiên bản đổi tên của mẫu ...
Ra đời từ SUV giá rẻ sẽ bán ở Việt Nam, Chevrolet Spark phiên bản chạy điện được mở bán
Xe xanh16:27 - 13/07/2025
Dựa trên mẫu SUV điện Baojun Yep Plus của Trung Quốc, Chevrolet Spark EUV mới sẽ được bán ra tại Brazil vào mùa hè năm nay.
VinFast phát triển xe điện "tí hon" mới, dự kiến nhỏ và rẻ hơn VF3
Xe xanh01:09 - 03/10/2024
Không chỉ có gầm thấp hơn, mẫu xe mới của VinFast còn mang trên mình ngoại hình mềm mại và tròn trịa hơn VF3.
Ngắm hình ảnh "bằng xương, bằng thịt" của VinFast VF3 bản thương mại tại nhà máy
Xe xanh11:51 - 13/05/2024
Từ ngày hôm nay, 13/5/2024, khách hàng Việt đã bắt đầu có thể đặt cọc mua mẫu ô tô điện giá rẻ VinFast VF3.
Dongfeng vén màn ô tô điện cỡ nhỏ Nammi 01 với pin thể rắn, sạc 8 phút đi được 200 km
Xe xanh13:45 - 27/08/2023
Nammi 01 sẽ được bán ra tại Trung Quốc vào quý IV năm nay.
Xe điện cỡ nhỏ Mitsubishi eK X EV có thể được bán ở Đông Nam Á, thiết kế như Xpander, kích thước lớn hơn VinFast VF3
Xe xanh17:10 - 22/06/2023
Mẫu xe điện đô thị cỡ nhỏ Mitsubishi eK X EV hiện đang được cân nhắc bán ở thị trường Indonesia.
BMW i3 2019 trình làng với pin mới giúp tăng phạm vi hoạt động
Tin xe11:55 - 29/09/2018
Trong điều kiện lái bình thường, BMW i3 2019 có thể chạy hết quãng đường 260 km trước khi cần sạc pin.










