Suzuki hé lộ thông tin về động cơ của mẫu xe Naked bike Gixxer 250 2019 gây thất vọng
Kuro 17:04 - 04/01/2019
Trước đây, khi được hãng xe Nhật Bản giới thiệu mẫu xe Suzuki Gixxer 250 thì nhiều người đã kỳ vọng đây sẽ là một trong những mẫu nakded bike cỡ nhỏ mang khối động cơ xy lanh đôi với dạng DOHC như xu thế chung của làng xe phân khối lớn. Thế nhưng, mới đây hãng xe này đã tiết lộ hình ảnh chi tiết của khối động cơ 250 phân khối khiến các fan của Suzuki phải thất vọng

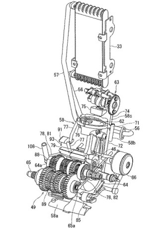
Thiết kế động cơ cho mẫu Suzuki Gixxer 250 bị rò rỉ
Được biết, mẫu động cơ dành cho Suzuki Gixxer 250 sẽ sử dụng loại 1 xy-lanh dạng SOHC. Đây sẽ như là một bước "cải lùi" nều như thực sự mẫu nakde bike này sẽ được sử dụng khối động cơ SOHC. Trong khi đó, hầu hết tất cả các đối thủ trong phân khúc như từ Kawasaki hay Honda đã đều sử dụng loại động cơ hiện đại hơn dạng DOHC và 2 xy lanh cho cảm giác sử dụng êm ái và đạt được vận tốc tối đa cao hơn.

Chiếc xe sẽ sử dụng một két dầu làm mát, SOHC 4 van

Két dầu làm mát được đặt dọc khá gọn gàng
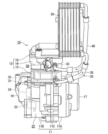
Mẫu động cơ này được cho là sẽ được đặt trên Suzuki Gixxer 250 2019 với sự kiện ra mắt sắp được diễn ra tại Ấn Độ. Khối động cơ này cũng sẽ được sử dụng két dầu giải nhiệt thay vì két nước như "thời đại". Dù sao thì, với khối động cơ dạng SOHC 250 phân khối này, chiếc xe sẽ cho khả năng vận hành khá mạnh với nước đề tốt nhưng về tốc độ và sự êm ái sẽ không được tốt trên mẫu động cơ này.
Hãy chờ xem các thông tin chi tiết về chiếc naked bike Suzuki Gixxer 250 2019 sắp được ra mắt tại thị trường Ấn Độ tới đây.
Bài viết mới nhất
-
Chủ xe Minio Green: “Tầm dưới 300 triệu đồng, khó tìm được mẫu ô tô dịch vụ nào hợp hơn”
7 giờ trước
-
Chủ xe hài lòng với VinFast Feliz II: Thiết kế đẹp, tiện từng chi tiết, chi phí “không phải nghĩ”
15 giờ trước
-
Ra mắt Lexus TZ 2027 - SUV điện dành cho gia đình, có thể mô phỏng tiếng động cơ của siêu xe LFA
Hôm qua lúc 16:25


