Xe việt dã Honda Africa Twin phiên bản mới sẽ được trang bị cảm biến rađa
14:20 - 11/03/2021
- Siêu mô tô việt dã Honda Africa Twin 1100 2020 sắp bán ra tại Việt Nam có gì đáng mong đợi?01/12/2020
- Honda sẽ tích hợp hệ thống Supercharged cho xe việt dã Africa Twin 110012/10/2020
- Honda Forza 750 sẽ thừa hưởng công nghệ của Africa Twin 110015/09/2020
Có vẻ như "cuộc chiến" về công nghệ rađa đã chính thức bùng nổ ở mảng xe mô tô. Sau khi Ducati, BMW Và KTM chính thức trang bị công nghệ rađa cảm biến cho sản phẩm xe Adventure cao cấp của mình, một nhà sản xuất xe đến từ Nhật Bản là Kawasaki cũng đã tiến hành thử nghiệm hệ thống rađa của riêng mình trên mẫu Kawasaki Ninja H2 SX SE.
Không để tụt lại phía sau, Honda mới đây đã trình lên hồ sơ đăng ký bảo hộ sở hữu cho công nghệ rađa dự kiến sẽ được trang bị trên mẫu xe việt dã Africa Twin. Theo bản thiết kế này, có vẻ như hệ thống rađa của Honda sẽ khá giống với hệ thống cảm biến của Kawasaki trên Ninja H2.
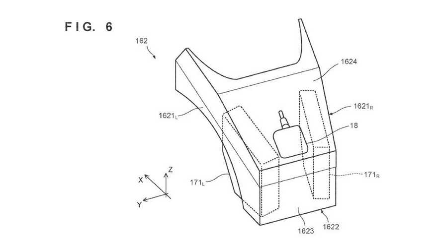
Cụ thể, xe sẽ được gắn thêm một camera hành trình nhằm hỗ trợ thêm cho hệ thống cảm biến của xe, từ đó dễ dàng tính toán được khoảng cách của xe đi trước hoặc đi sau, thông báo đến cảm biến nhằm kích hoạt hệ thống giám sát hành trình thích ứng.
Bản vẽ mô tả bố trí hệ thống rađa cảm biến trên Honda Africa Twin
Được bố trí ngay bên dưới cặp đèn pha, cảm biến hỗ trợ điều khiển xe (số hiệu 204) sẽ hỗ trợ cho hệ thống kiểm soát hành trình thích ứng trang bị trên xe. Nhìn vào thiết kế thì có vẻ như đây sẽ là nơi đặt hệ thống rađa thông thường thấy, tuy nhiên bên cạnh đó Honda cũng có thể tích hợp thêm cả cảm biến đo khoảng cách tại đây nhằm hỗ trợ tốt hơn cho xe.
Để hệ thống rađa cảm biến có thể hoạt động một cách hiệu quả nhất, Honda thậm chí còn thiết kế lại dè chắn bùn phía trước lõm xuống ở giữa. Ngoài cảm biến phía trước, Honda cũng sẽ trang bị cho Africa Twin cảm biến phía sau nhằm cảnh báo phương tiện đang ở trong điểm mù. Khác với các mẫu xe hiện có trên thị trường, Africa Twin sẽ được trang bị hai cảm biến phía sau nhằm giám sát 2 góc điểm mù của người lái.
Được biết, hiện tại Honda cũng đang phát triển công nghệ kết nối mới giúp hệ thống an toàn giữa các xe có thể tương tác với nhau cũng như môi trường xung quanh, từ đó nhận biết được nhiều tình huống xảy ra trên đường hơn.

Honda Africa Twin 1100
Hiện tại, công nghệ rađa cảm biến vẫn đang được Honda phát triển và hoàn thiện. Dự kiến phải mất thêm vài năm nữa thì công nghệ rađa cảm biến này mới xuất hiện trên Honda Africa Twin, cụ thể là bản nâng cấp lớn giữa vòng đời.
Lan Châu
Bài viết mới nhất
-
Subaru Getaway trình làng như "anh em song sinh" của Toyota Highlander nhưng nhanh hơn và mạnh hơn
Hôm qua lúc 16:17
-
Phiên bản việt dã của Subaru Forester được bổ sung động cơ mới, tiết kiệm xăng hơn
Hôm qua lúc 14:40
-
Bất chấp nguy cơ bị cấm đi vào nội đô Hà Nội trong giờ cao điểm, xe bán tải VinFast vẫn rục rịch ra mắt
Hôm qua lúc 13:31









