Lộ bản vẽ sport bike Honda CBR300R hoàn toàn mới với trang bị động cơ 2 xy-lanh
18:47 - 26/08/2019
Những tưởng Honda CBR250RR - một trong những mẫu Sport bike tầm trung thành công của hãng xe Nhật sẽ ở vị trí độc tôn. Thế nhưng, mới đây thì một bản vẽ đã hé lộ về mẫu xe sẽ được sinh ra để thay thế mẫu Sport bike đình đám này. Honda CBR300R sẽ một lần nữa được hãng xe Nhật Bản hồi sinh với diện mạo cùng khối động cơ hoàn toàn khác biệt so với trước đây.

Honda CBR300R đời cũ có thiết kế không mấy ấn tượng khi khá giống với mẫu xe nhỏ
Bất ngờ xuất hiện, bản vẽ về thiết kế của mẫu xe Honda CBR300R thế hệ mới sẽ khiến nhiều người hài lòng khi mẫu xe này được thay đổi một cách toàn diện. Như trước đây, chiếc xe 300 phân khối được thiết kế và sản xuất ra với tiêu chí giá rẻ, hiệu năng đủ dùng sử dụng 1 xy-lanh đơn cho khối động cơ. Cùng với đó, thiết kế chiếc xe trông không có nhiều khác biệt với mẫu xe nhỏ Honda CBR150R khiến nhiều người không hài lòng.

Bản vẽ hé lộ về mẫu xe Honda CBR300R thế hệ mới
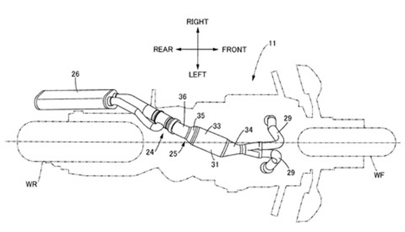
Có thể thấy, từ bản vẽ thiết kế trên, chiếc xe sẽ mang hình dáng không mấy khác biệt so với những phiên bản trước đây với dàn vỏ quen thuộc, yên phân tầng và đầu đèn cũ. Thế nhưng, chi tiết đáng chú ý nhất trong bản vẽ nằm ở khối động cơ. Một khối động cơ với 2 ống xả, phun xăng điển tử FI sẽ là điểm nhấn đáng chú ý cho mẫu xe mới này.

Bản vẽ hé lộ về mẫu xe Honda CBR300R thế hệ mới
Ở một góc nhìn khác, có thể thấy rõ việc trang bị khối động cơ xy-lanh đôi cho mẫu xe mới sẽ là chắc chắn khi 2 ống xả được tách rời ở phần cỗ máy. Đây không phải là một cái gì đó quá mới mẻ trên thị trường xe phân khối lớn hiện nay khi rất nhiều hãng xe đã bước vào sản xuất những mẫu xe 300 phân khối với xy-lanh đôi. Thế nhưng, đây lại là điểm mới đối với Honda khi trước đây, những mẫu xe 2 xy-lanh của hãng này chỉ vẻn vẹn nằm trong phân khúc 500cc mà thôi.
Hiện tại, chưa có thông tin chính thức cũng như các thông số dành cho Honda CBR300R thế hệ mới thế nhưng, việc bản thiết kế chỉ ra về bộ vỏ cũ, khối động cơ mới thì chưa thực sự làm hài lòng các fan của Honda bởi với một chiếc xe phân khối lớn, vẻ bề ngoài hợp thời vẫn là một trong những thứ gây thu hút hàng đầu. Hãy cùng chờ xem, mẫu xe Honda CBR300R thế hệ mới sẽ được Honda cho ra mắt như thế nào trong tương lai.
Kuro
 
                                    
                                 
Bài viết mới nhất
- 
                      Cận cảnh SUV điện Hyundai Elexio mới ra mắt với giá cao nhất 555 triệu đồngHôm qua lúc 20:02 
- 
                      Honda trình làng SUV điện độc lạ 0 α, mở bán từ năm 2027Hôm qua lúc 19:45 
- 
                      Aston Martin DB12 đầu tiên ở Thành phố Hồ Chí Minh lộ diệnHôm qua lúc 15:11 
 
                            


