Honda phát triển yên xe phân khối lớn chống "hăm" cho biker
Kuro 18:07 - 13/08/2018
Một chi tiết nhỏ trên những chiếc xe máy gây ảnh hưởng lớn đến cảm giác lái của chính người điều khiển xe. Đó chính là chiếc yên, yên xe máy có vai trò rất quan trọng trong trải nghiệm của các biker trên chiếc xe của mình. Bởi, yên xe quyết định góc ngồi, góc lái cũng như độ bám, độ êm ái khi sử dụng chiếc xe của mình.
Các biker ắt hẳn ai cũng đã trải qua cảm giác nóng bỏng, khó chịu vì toát mồ hôi thì nay, Honda sẽ giúp chúng ta "giải tỏa" được vấn đề nan giải này. Mới đây, hãng xe Nhật Bản Honda vừa nộp một bằng sáng chế với chiếc yên xe hoàn toàn mới, trong đó, chiếc yên xe này có khả năng cải thiện độ thông thoáng và thoát hơi ẩm, thoát nước một cách tuyệt vời.
Bản vẽ phác thảo về chiếc yên xe mới.
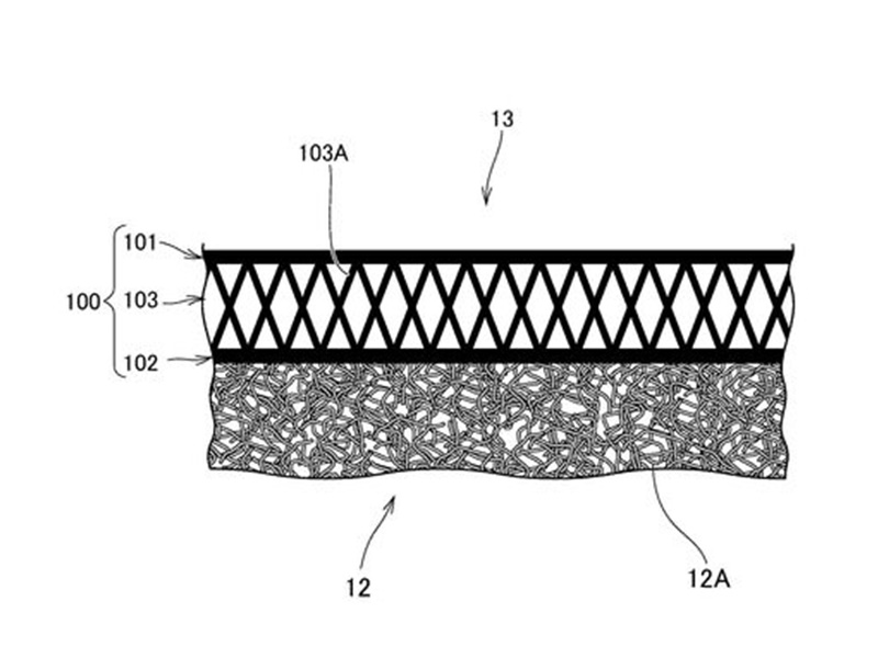
Với bộ yên xe hoàn toàn mới này, người điều khiển xe sẽ có một chỗ ngồi thông thoáng hơn, mát mẻ vào mùa hè và tránh đọng hơi vào mùa đông. Kết cấu của bộ yên xe này bao gồm khoang không khí kết hợp với khoang lưới.

Bản vẽ phác thảo về chiếc yên xe mới.
Chắc hẳn các biker đều đã chạy xe trong khi trời mưa, tình trạng nước bị dồn lại và đọng ở yên xe là chuyện rất đỗi bình thường. Thậm chí. với nhiều loại yên xe thì sau khi rửa xe, các khe gấp, nếp khâu của yên xe giữ nước lại và khi ngồi lên sẽ chắc chắn bị ướt quần thì với yên xe mới này của Honda, nước có khả năng lưu thông qua phần khí của yên xe một cách dễ dàng và không gây ảnh hưởng đến vị trí ngồi lái của xe. Điều này giúp yên xe mau khô và dễ thoát nước hơn.

Bản vẽ phác thảo về chiếc yên xe mới.
Bản vẽ về chiếc yên xe được đưa lên trông rất giống với chiếc yên solo trên chiếc xe mới Honda CBR1000RR. Có lẽ, những chiếc yên xe mới này sẽ được áp dụng lên những chiếc xe Sport bike của Honda. Dù chưa có thông báo chính thức nào từ Honda nhưng đây sẽ là một phát minh cực kì hữu dụng mà người mê xe nào cũng sẽ rất cần để bảo vệ sức khỏe của mình cũng như tăng trải nghiệm tốt với những chiếc xe.
Bài viết mới nhất
-
Hyundai Grand i10 được bổ sung phiên bản mới với một trang bị chưa từng có trong phân khúc
Hôm qua lúc 22:19
-
VinFast bán hơn 27.000 chiếc ô tô điện cho người Việt trong tháng 3/2026
Hôm qua lúc 21:46
-
BYD mở bán SUV cỡ lớn Denza N8L phiên bản sạc nhanh mới, chạy 430 km mà không tốn xăng
Hôm qua lúc 16:54


