Honda phát triển Sport Bike có khả năng "biến hình" thành xe Touring
Hiền Nguyễn 07:53 - 15/05/2019
Honda là thương hiệu nội tiếng trong việc tạo ra những mẫu xe có hiệu năng vận hành cao nhưng vẫn mang đến cho người dùng sự thoải mái. Ví dụ điển hình chính là chiếc Honda VFR750. Trong những năm 80 và 90 của thế kỷ trước, Honda VFR750 có khả năng cạnh tranh tốt với các mẫu siêu mô tô trên trường đua, đồng thời vẫn mang lại cho người dùng sự thoải mái khi dùng xe để đi lại hàng ngày dù gần hay xa.
Bên cạnh đó, mẫu CBR600F của Honda cũng từng nhiều lần giành được danh hiệu vô địch giải đua World Supersports, đồng thời vẫn được cộng đồng xe tôn vinh là mẫu xe thân thiện và thực dụng hơn hẳn so với các mẫu siêu mô tô được phát triển để chinh phục đường đua.
Không để phai nhạt danh tiếng nói trên, Honda vừa trình lên hồ sơ đăng ký bản quyền thiết kế mẫu Sport Bike mới rất đặc biệt, có khả năng "biến hình" tùy theo nhu cầu của người dùng.

Mẫu xe mới của Honda có khả năng biến hình từ xe Sport Bike thành Touring
Theo đó, Honda đã sử dụng Honda CBR1000RR Fireblade để làm mẫu xe để mô tả khả năng đặc biệt này. Cụ thể hơn, chiếc Honda CBR1000RR Fireblade trong ảnh trên có thể thay đổi vị trí tay lái cũng như kính chắn gió. Nói cách khách, từ một chiếc Sport Bike, mẫu xe mới của Honda có thể biến thành một chiếc Touring trong tíc tắc.
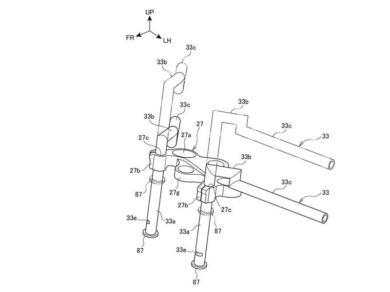
Tay lái của xe có thiết kế đặc biệt, không phải dạng clip-on thường thấy mà đi kèm thêm một đoạn ống nối lồng vào bên trong ống phuộc. Chỉ cần lẫy khóa mở ra là người dùng có thể nâng tay lái của xe lên một cách dễ dàng, từ đó tạo nên dáng ngồi không quá chồm nữa mà thoải mái hơn, tương tự như tư thế ngồi trên những chiếc xe Touring. Theo bản thiết kế mô tả thì người dùng chỉ cần ấn một nút bấm trên cùm công tắc thì cặp tay lái của xe sẽ tự động động nâng cao lên.

Thiết kế tay lái đặc biệt của Honda
Tương tự, kính chắn gió của xe không có thiết kế gắn liền với dàn vỏ nữa, thay vào đó bộ phần này được gắn vào bộ khung dạng cắt kéo, cho phép kính chắn gió rời khỏi vị trí bàn đầu, nâng cao và dựng đứng lên như kính chắn gió của xe Touring. Nút bấm điều khiển vị trí kính chắn gió cũng là nút bấm điều khiển độ cao của tay lái, đồng nghĩa rằng chỉ cần một lần bấm nút, người dùng có thể thay đổi cách bố trí của tay lái và kính chắn gió, biến chiếc xe của mình từ Sport Bike thành Touring.

Kính chắn gió của xe có thể thay đổi vị trí, gần giống với cách điều chỉnh độ cao kính chắn gió của xe Touring
Theo giới thạo tin, hồ sơ đăng ký trên không phải là công nghệ mới duy nhất mà Honda đăng ký bản quyền. Hãng xe Nhật Bản còn đăng ký bản quyền thiết kế cho yên xe có khả năng điều hòa nhiệt độ, giúp đưa khí mát từ môi trường hoặc khí ấm từ két nước đến yên xe để người dùng không bị khó chịu khi đi đường dài.
Bài viết mới nhất
-
Các hiệp hội ô tô Thái Lan vận động tăng thuế xe điện nhập khẩu nguyên chiếc từ Trung Quốc
16 giờ trước
-
BYD Denza B8 được bán tại Đông Nam Á, kích thước lớn hơn Toyota Land Cruiser, chạy 115 km không tốn xăng
17 giờ trước
-
Giá xăng, dầu ngày 21/5/2026: giá xăng RON 95 tăng lên 25.540 đồng/lít
Hôm qua lúc 15:06


