Honda CRF250 sẽ được nâng cấp động cơ, có thể sử dụng đến 2 bugi cho 1 xy-lanh
16:05 - 30/07/2019
Được ra mắt lần đầu tiên từ những năm 2012, những mẫu xe đa địa hình đến từ Honda như Honda CRF250L, CRF250M và CRF250 Rally đón nhận được rất nhiều sự quan tâm. Cũng bởi, dòng xe này mang cái tên được "hạ mình" từ cào cào chuyên nghiệp nhà Honda CRF để trở thành một cái tên thương mại đa dụng, dễ dùng. Không có nhiều sự thay đổi từ 7 năm nay ở ngoại hình cũng như động cơ thì mới đây, một thông tin cho rằng khối động cơ 1 xy-lanh của mẫu xe này sẽ được phát triển trong các thế hệ tiếp theo.

Honda CRF250 Rally là một trong những mẫu xe nhỏ thành công của Honda
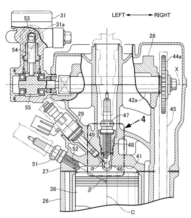
Được biết, khối động cơ của Honda CRF250 sẽ được nâng cấp và sử dụng công nghệ bugi đôi hoàn toàn khác lạ. Thiết kế này đã từng được thấy trên những mẫu xe của hãng xe Ấn Độ như Bajaj Pulsar 200 và một số mẫu xe sử dụng tới 3 bugi cho 1 xy-lanh. Sự phát triển này nhằm tăng cường sức mạnh cho khối động cơ bằng cách đốt triệt để nhiên liệu trong buồng đốt.

Thiết kế khối động cơ kiểu mới dành cho các mẫu Honda CRF250
Hiện tại, sức mạnh của Honda CRF250 là khối động cơ xy-lanh đơn, dung tích 250cc, sản sinh công suất 24,4 mã lực tại tua máy 8.500 vòng/phút và mômen xoắn cực đại 22,6 Nm tại tua máy 6.750 vòng/phút.

Bản vẽ phác thảo với sự thay đổi trọng tâm nằm ở khu vực đầu bò của động cơ
Dù chưa được nhà sản xuất công bố chính thức về các thay đổi cũng như thông số chi tiết về mẫu xe này. Thế nhưng, việc thay đổi cho Honda CRF 250 là cần thiết bởi từ kiểu dáng cho đến sức mạnh đã được giữ nguyên khá lâu sẽ gây "chán" cho các fan của dòng xe cào cào này. Hãy cùng chờ xem, liệu chiếc Honda CRF thế hệ mới sẽ mang sức mạnh ra sao và ngoại hình thay đổi như thế nào.
Kuro
Bài viết mới nhất
-
Chào hè "nóng bỏng", Hyundai Accent được tăng ưu đãi lên 79 triệu đồng
Hôm qua lúc 12:47
-
Mẫu SUV cỡ lớn với thiết kế như Range Rover và tên giống Lexus "bán chạy như tôm tươi", đã được 25.000 khách đặt mua
Hôm qua lúc 13:06
-
SUV địa hình Geely Galaxy Cruiser 700 lộ diện trước ngày ra mắt, cạnh tranh Toyota Land Cruiser
Hôm qua lúc 11:11


