Bất ngờ với động cơ tăng áp turbo xylanh đôi mới của Suzuki
Hiền Nguyễn 11:11 - 28/01/2019
Vẫn nhớ vào năm 2013, Suzuki đã khiến các tín đồ xe mô tô háo hức khi tung ra mẫu concept Suzuki Recursion với động cơ xylanh đôi tăng áp turbo tại triển lãm Tokyo Motor how 2013. Việc công bố concept động cơ tăng áp turbo mới đã mở ra tương lai đầy hứa hẹn cho hãng xe Nhật khi ứng dụng động cơ này sẽ được áp dụng trên h àngloạt xe của hãng trong tương lai.

Suzuki Recursion ra mắt vào năm 2013
Tuy nhiên đã hơn 5 năm kể từ đó đến nay, khối động cơ xylanh đôi tăng áp turbo vẫn đang trong giải đoạn phát triển. Không những thế, mẫu concept Recursion cũng đã thay đổi rất nhiều kể từ khi ra mắt lần đầu vào năm 2013. Tính đến thời điểm hiện tại, thông tin về dòng động cơ mới cũng như mẫu concept này vẫn khá ít ỏi do Suzuki luôn khá kín tiếng trong mọi dự án của mình.
Trong vài năm trở lại đây, có nhiều bằng chứng cho thấy Suzuki thực sự muốn đầu tư và phát triển xe mô tô ứng dụng công nghệ turbo. Sau khi giới thiệu Recursion vào năm 2013, Suzuki tiếp tục tung ra concept động cơ XE7 tại triển lãm Tokyo Motor Show 2015. Cùng với đó là thông tin cho biết động cơ XE7 đã được phát triển hiện đại hơn hẳn so với concept động cơ nguyên bản trên Recursion.
Mặc dù chỉ là phiên bản phát triển trên nền động cơ xylanh đôi, SOHC, dung tích 588cc với công sất dự kiến 100 mã lực, động cơ XE7 vẫn uược xem là tuyệt tác công nghệ và được phát triển nhằm đưa vào sản xuất hàng loạt.
Được biết XE7 đã được nâng cấp lên cam đôi DOHC, cùng với đó là bộ tăng áp turbo và hệ thống làm mát rất nhỏ gọn. Không những thế dung tích xylanh của động cơ còn được nâng lên 700cc, vì vậy việc trang bị đầu bò cam đôi cho xe sẽ tận dụng được sức mạnh của máy dung tích lớn, cho phép động cơ vận hành ở vòng tua cao hơn và có hiệu năng mạnh mẽ hơn.
Kể từ đó đến nay, bộ phận chuyên trách nghiên cứu và phát triển của Suzuki liên tục lập hồ sơ đăng ký bản quyền ở hữu trí tệ cho các công nghệ và thiết kế liên quan đến động cơ này. Tất cả các hồ sơ bản quyền này đều cho thấy Suzuki đang tập trung phát triển động cơ XE7 để trang bị cho mẫu sport bike mới phát triển dựa trên concept Recursion.

Thiết kế mơi nhất cho thấy sự thay đổi ở khung xe
Như thông tin đã đưa trước đó thì mẫu sport bike mới của Suzuki dự kiến sẽ có tên Suzuki GSX-700T và sẽ được trang bị khung Twin Spar thay vì khung thép lưới ở thiết kế ban đầu. Có vẻ như bộ khung mới không chỉ được sử dụng để tạo không gian cho động cơ mà còn góp phần vào quá trình tăng áp turbo.

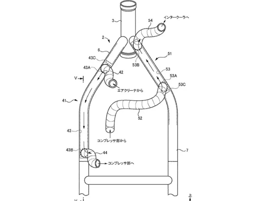
Khung xe sẽ tham gia vào quá trình dẫn và trích khí cho bộ tăng áp
Nhìn kỹ vào hình ảnh trên, co thể thấy bầu lọc gió và hệ thống tăng áp turbo đều được nói thông với khung xe thông qua các đoạn ống ngắn. Như vậy, Suzuki đang tận dụng bộ khung dạng ống của xe làm hệ thống ống dẫn cho bộ tăng áp. Ý tưởng này không chỉ giúp phần động cơ xe trông gọn gàng hơn mà còn giúp loại bỏ các đoạn ống dẫn khí thừa thãi và giảm trọng lượng xe.
Không khí từ bầu lọc gió sẽ đi qua đoạn ông ngắn vào khung xe bên trái, khung xe sẽ dẫn khí đến bộ tăng áp thông qua một đoạn ống ngắn khác nối khung với bộ tăng áp. Sau khi đã được nén đủ, không khí bên trong bộ tăng áp sẽ được xả sang phần khung bên phải thông qua một đoạn ống nối khung khác rồi đi đến hệ thống làm mát được bố trí gần cửa nạp của bầu lọc gió.

Có thể dễ dàng nhìn thấy bộ tăng áp turbo kết nối với khung xe bằng đoạn ống ngắn
Đương nhiên các phần khung xe tham gia quá trình dẫn và trích khí đều được đúc kín để tránh rỏ rỉ. Có thể nói đây là một ý tưởng đơn giản nhưng lại giúp loại bỏ nhiều đoạn ống dẫn khí cho động cơ tích hợp tăng áp turbo, qua đó giúp phần động cơ và tổng thể xe gọn gàng và đỡ "rác" mắt.
Câu hỏi trị giá nhất hiện nay là liệu đến khi nào Suzuki mới chính thức ra mắt phiên bản thương mại cho dòng xe sport ứng dụng khung và động cơ turbo nói trên? Số lượng hồ sơ bản quyền liên quan đến dòng xe và động cơ XE7 đã vượt qua số lượng xe mới mà Suzuki đã tung ra trong vài năm qua. Theo các chuyên gia trong ngành thì rất có thể Suzuki sẽ chính thức có một mẫu sport bike mới ứng dụng công nghệ turbo trong khoảng 2 năm tới đây.


